Architrave and Skirting
Bevelled

Bullnose

Colonial

Assorted Mouldings
Door Jambs
Grooved

Fascia and Weatherboard
Bevel Back

BSF Cover Battens

Fascia

Scotia and Coving
Window Reveals
Grooved STD Reveals

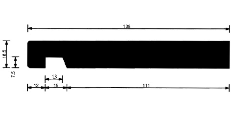
- R06 138×18.5 Grooved Reveal
- R07 148×18.5 Grooved Reveal
- R08 180×18.5 Grooved Reveal
- R99 75×18.5 Grooved Reveal
- R03 104×18.5 Grooved Reveal
- R05 125×18.5 Grooved Reveal
- R04 114×18.5 Grooved Reveal
- R02 99×18.5 Grooved Reveal
- R000 86×18.5 Grooved Reveal
- R00 79×18.5 Grooved Reveal
- R01 92×18.5 Grooved Reveal
- R 65×18.5 Grooved Reveal
No Grooved Reveals





















